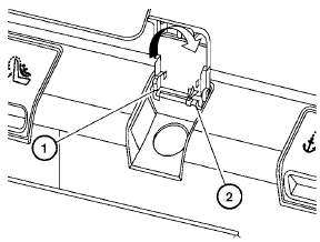
Removing covers from rear parcel shelf

Remove the top tether anchor cover or key cylinder cover as follows:
1. Lift the cover to the full open position.

2. Rotate the cover in the direction shown, disengaging the hinge at 1 and slide the second pin from the hinge 2 and remove the cover.
See also:
Front seat-mounted side-impact supplemental air bag
and roof-mounted curtain side-impact and rollover
supplemental air bag systems
The side air bags are located in the outside of
the seatback of the front seats. The curtain and
rollover air bags are located in the side roof rails.
These systems are designed to meet volunta ...
NISSAN Vehicle Immobilizer System
The NISSAN Vehicle Immobilizer System will not
allow the engine to start without the use of the
registered key.
If the engine fails to start using the registered
key, it may be due to interfere ...
Operating range
The Intelligent Key functions can only be used
when the Intelligent Key is within the specified
operating range from the request switch (1) .
When the Intelligent Key battery is discharged or
...
