Extended storage switch (if so equipped)

NOTE:
The extended storage switch is used for long term vehicle storage. Even if the extended storage switch is broken it is not necessary to replace it. Replace only the open fuse in the switch with a new fuse.
How to replace the extended storage switch:
1. To remove the extended storage switch, be
sure the ignition switch is in the OFF or
LOCK position.
2. Be sure the headlight switch is in the OFF
position.
3. Remove the fuse box cover.
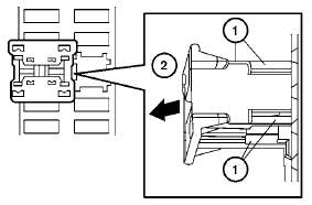
4. Pinch the locking tabs 1 found on each
side of the storage switch.
5. Pull the storage switch straight out from the
fuse box 2 .
See also:
Control panel buttons ó color screen with Navigation System (if so equipped)
1. ZOOM OUT button*.
2. STATUS button.
3. DEST button*.
4. ROUTE button*.
5. NISSAN controller.
6. INFO button.
7. PHONE button**.
8. + (brightness control) button.
9. OFF brightness control ...
Opening windows (if so equipped)
The Intelligent Key allows you to open windows
equipped with automatic operation simultaneously.
● To open the windows, press the
button
on the Intelligent Key longer than 3
seconds after ...
Removing covers from rear parcel shelf
Remove the top tether anchor cover or key cylinder
cover as follows:
1. Lift the cover to the full open position.
2. Rotate the cover in the direction shown,
disengaging the hinge at 1 and sli ...
